阀控、网关和第三方平台对接测试指导
目录
概述
本文件主要描述电磁阀如何对接星纵物联电磁阀控制器,电磁阀控制器如何成功添加到网关上,网关如何对接到第三方应用管理控制平台上,如何在网关上测试下发控制电磁阀动作操作。

准备
收到设备时,请先检查设备的数量与各项配件是否齐全。
①UG67包装配件清单:


②UC51X配件清单:

测试步骤
为了减少测试的步骤,测试前首先需要明确对接的平台。或者只是使用网关进行初步测试。
备注说明:
①星纵云平台不支持本地部署。若前期测试没有第三方的应用平台,可以先使用星纵云做前期测试。
②星纵云目前只支持星纵传感器和网关对接。
③网关对接到星纵云之后,就不能对接到第三方的应用平台。
1.对接第三方应用平台
UG67网关上电。

2.网关登录与上网
(1)电脑WiFi无线登录网关界面,网关使用蜂窝上网,参考如下视频:WIFI登录,蜂窝上网视频;
备注:网关登录默认的用户名:admin,密码:password。
(2)插SIM卡之后,判断SIM卡是否正常的判断依据:登录网关界面,在“状态–>蜂窝,查看状态是否是Ready,是否获取到IP地址”,若是Ready状态且正常获取到IP地址,则蜂窝正常。
判断网关是否上网的依据是:登录网关界面”维护–>工具–>PING探测”,输入地址8.8.8.8或者114.114.114.114,如果能ping通,说明上网正常。

(3)网关上添加阀控器
①单台添加阀控器参考如下视频:
网关上单台添加电磁阀控制器操作视频
备注:设备EUI是电磁阀控制器设备后背贴上的DevEUI数字,应用程序密钥默认是5572404c696e6b4c6f52613230313823
②按照如上视频操作在网关上添加完电磁阀控制器后,触发电磁阀控制器入网,触发电磁阀控制器入网操作如下:
- A、若是安卓手机,在官网“安卓手机的Toolbox下载链接”下载文件安装即可。若是IOS手机,在应用商店搜索”Milesight Toolbox”下载安装接可
- B、参考如下视频读取电磁阀控制器,NFC读取视频
- C、读取完之后,按照如下视频操作电磁阀控制器电磁阀控制器操作
③操作完之后查看阀控器和网关连接正常的判断依据:
在网关界面,“在Network Server–>设备”,查看”有最新更新时间“和“是否激活已勾选”,则阀控器和网关正常连接。

(4)网关界面下发控制阀控器操作
在网关界面下发控制器阀控器操作如下视频:在网关界面下发控制电磁阀控制器;
备注:下发控制的具体指令如下:
ff1d2000 电磁阀 1 开 ff1d0000 电磁阀 1 关
ff1d2100 电磁阀 2 开 ff1d0100 电磁阀 2 关
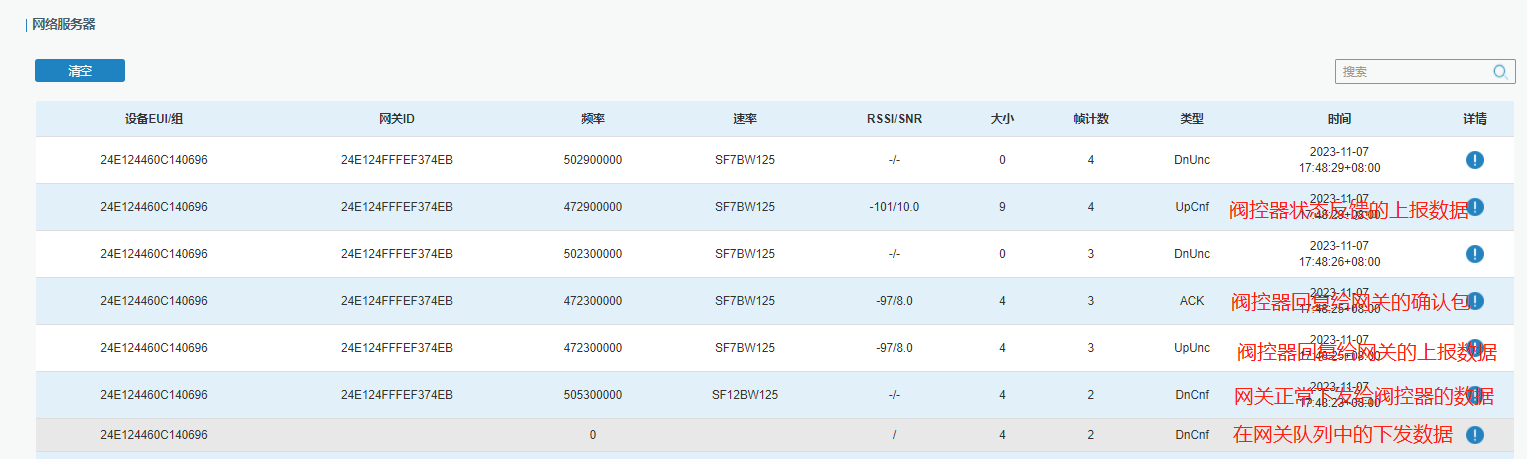
(5)是否下发成功与数据流查看
下发成功的判断依据如下图数据流:

网关上数据流解析:

(6)网关通过MQTT对接第三方平台
网关MQTT对接第三方平台操作视频参考:网关MQTT对接第三方平台。
视频备注说明:
①”MQTT服务器地址“是填入第三方的服务器地址即可
②同一个MQTT服务端底下的MQTT客户端ID不能重复;
③下行主题/milesight/downlink
④下发数据如下:
{“devEUI”:”24E124460C140696″,”confirmed”: true,”fport”: 85,”data”: “/x0gAA==”} 电磁阀控制器接口1开;
{“devEUI”:”24E124460C140696″,”confirmed”: true,”fport”: 85,”data”: “/x0AAA==”} 电磁阀控制器接口1关;
{“devEUI”:”24E124460C140696″,”confirmed”: true,”fport”: 85,”data”: “/x0hAA==”} 电磁阀控制器接口2开;
{“devEUI”:”24E124460C140696″,”confirmed”: true,”fport”: 85,”data”: “/x0BAA==”} 电磁阀控制器接口2关;
(7)电磁阀控制器和阀控器接线
电磁阀控制器的接口说明如下:

实际接线参考如下(控制线):

判断电磁阀控制器是否成功控制电磁阀方式:
(1)使用Toolbox工具读取电磁阀控制器;
(2)点击下图的开关按键,有的电磁阀动作之后,会有“咔”声,可以通过这个来判断电磁阀控制器控制电磁阀是否成功。
